运营商财经网实习生赵鑫雨/文
不久前,中原证券发布2024年第三季度报告,引发关注。运营山财经网由此将目光聚焦在其背后的高管团队,并试图揭秘其执行委员申亚文的过往经历。

申亚文出生于1984年11月,年仅40岁,目前是中原证券高管团队中最年轻的一位。他是江苏泰州人,具有研究生学历、硕士学位。他于2009年7月开始参加工作,曾在中国建设银行总行金融市场部工作。
2014年后,申亚文开始进入证券公司。在2014年9月加入国泰君安证券,担任固定收益部投顾投资总监。后于2015年6月,转入广州证券,固定收益部副总经理(主持工作)。
2018年12月进入中原证券至今任金融市场部经理,自2023年9月至今专业技术职级为董事总经理。自2024年8月31日起,被任命为执行委员会委员,与此同时,其董事会秘书朱启本因到龄退休辞职离任。
值得一提的是,据中原证券公布的2024年第三季度报告显示,其2024年7月到9月期间,公司营业收入降幅达到78.28%,归属于上市公司股东的净利润降幅达到193.97%。另外,其前三季度累计营业收入起12.92亿元,相较去年同期减少了12.51%;归属于上市公司股东的净利润为1.63亿元,相较去年同期减少了21.49%。

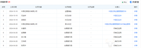
据天眼查显示,中原证券除营收下降之外,其在2024年共收到9次违规处理,其中有两次是公司被处罚。一是在9月30日,其因薪酬管理方面存在问题被责令改正;二是在10月18日,其存在违规行为被暂停债券承销业务长达半年。

运营商财经网将持续关注中原证券的未来动态。
(责任编辑:彭玉珍)
运营商财经(官方微信公众号yyscjrd)—— 主流财经网站,一家全面覆盖科技、金融、证券、汽车、房产、食品、医药、日化、酒业及其他各种消费品网站。


