运营商财经网 王鑫垚/文
日前,合创汽车被强制执行686.19万元的消息引起人们的关注。据了解,广汽集团及广汽埃安都是合创汽车的股东,究竟是什么情况?

天眼查法律诉讼信息显示,2024年11月26日,合创汽车科技有限公司被强制执行,执行标的686.1884万元,执行法院是广州市南沙区人民法院,案号为(2024)粤0115执16867号。
为什么会被强制执行几百万呢?网上并没有查询到具体原因,不过相关案由部分显示是国内非涉外仲裁裁决。

那么合创汽车有能力支出600多万吗?
公开数据显示,2022年和2023年,合创汽车年销量均在2万辆左右,今年上半年,公司销量仅0.31万辆,有关该品牌拖欠供应商款项、裁员等消极信息也层出不穷。由于该企业并未上市,暂无法通过官方渠道了解到其营收、利润等财务情况。
虽然公司各方面业绩表现都欠佳,不过,合创汽车的股东都大有来头。
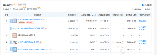
天眼查APP显示,公司最大股东是广东珠投智能科技投资有限公司,其持股比例达68.5594%。通过股权穿透可以发现,该公司实际控制人是朱一航,而朱一航是地产大亨朱孟依长子。
此外,华南知名车企广汽集团及其自主品牌广汽埃安也是合创汽车的股东。具体来看,广汽集团持有4.4529%的股份,广汽埃安持有20.5411%的股份。目前,广汽集团副总经理赫閤先庆还在担任合创汽车副董事长一职。

虽然背靠两座大山,不过今年以来广汽集团的日子也不是很好过。数据显示,今年前三季度广汽集团多个关键数据均同比下降。其中,集团实现营收约740.4亿元,同比下降24.18%;归属于上市公司股东的净利润约1.2亿元,同比下降97.34%;扣非净利润为负,约-18.7亿元,同比下降146.49%。
截至2024年9月30日,公司现金流约9.83亿元,同比下降75.56%。在自身发展也面临危机的情况下,广汽集团还会愿意托举合创汽车吗?运营商财经网将持续关注。
大汽车企业扶持参股公司也有先例,最近,百度和吉利共同投资的极越汽车遭遇经营困难,其员工将按照“N+1”的标准获得经济补偿。垫付资金由百度、吉利打入;用户的售后服务由吉利承担。
(责任编辑:王鑫垚)
运营商财经(官方微信公众号yyscjrd)—— 主流财经网站,一家全面覆盖科技、金融、证券、汽车、房产、食品、医药、日化、酒业及其他各种消费品网站。


