运营商财经网 实习生周颖/文
近日,君乐宝投资的奶酪企业酪神世家破产清算,运营商财经网由此注意到了其并购情况。

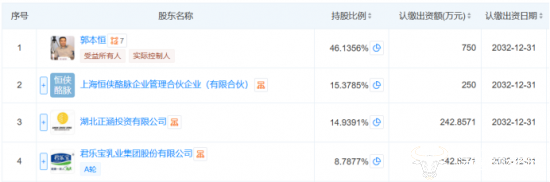
根据上海市第三中级人民法院公告,酪神世家破产清算一案已获法院受理,管理人也已就位,第一次债权人会议已于10月23日召开。天眼查显示,酪神世家成立于2022年3月,公司实际控制人为光明乳业前总经理郭本恒,持股比例约为46%,君乐宝则持有其持股比例8.79%的股份。

这也不是君乐宝首次布局奶酪赛道。2021年,君乐宝收购主营奶酪产品的思克奇30%的股份,并制定“五年内稳居奶酪品类第一阵营”的目标。而在2024年年底,妙可蓝多在国内奶酪市场的份额为48.8%,市场占有率已连续多年位居第一,思克奇与其还有着不小的差距。此外,君乐宝还积极布局羊奶粉、现制酸奶等多个赛道,如控股来思尔乳业、战略投资茉酸奶等。
而多次的并购也使得君乐宝的负债率处于较高水平。据已披露数据,2022年君乐宝净资产为47.17亿元,负债率由2020年的88.21%下降至78%,但相较于同期伊利与蒙牛58.66%、57.52%的负债率,仍处于较高水平,且超过了70%的企业红线。但君乐宝不是上市公司,其近两年的财务状况无法获悉。
此外,值得一提的是,君乐宝在2022年曾表示要在2025年完成销售额500亿的目标,同时争取在2025年完成上市。但截至目前,君乐宝还没有IPO的实质性进展,只是在今年1月发布了第四期《关于君乐宝乳业集团股份有限公司首次公开发行股票并上市辅导工作进展报告》,提及了目前存在的问题,但仍未提交相应招股说明书。
君乐宝今年能否完成销售额并顺利上市,运营商财经网将持续关注。
(责任编辑:康玲华)
运营商财经(官方微信公众号yyscjrd)—— 主流财经网站,一家全面覆盖科技、金融、证券、汽车、房产、食品、医药、日化、酒业及其他各种消费品网站。


