2018-01-08 18:06 运营商世界网 符菲
更多资讯可登录运营商世界网(telworld.com.cn),也可关注微信公众号tel_world
运营商世界网 符菲/文
近日,一家号称“中国净水领域标杆引领者”的企业由于一则消费者投诉陷入了舆论的低谷。运营商世界网了解到,知名净水品牌沁园去年12月初才获得了涉及家用净水、商用净水以及品牌建设方面的三项大奖。然而前脚下了颁奖台,后脚就被用户投诉从产品质量到服务水准都令人大失所望,这是怎么回事?

据了解,投诉沁园的是一位山东菏泽的消费者,用户反映其2016年安装的RU-185J沁园净水机在最近经由沁园售后人员更换滤芯后就发生故障不出水了,然而多次打电话报修却如同石沉大海。令人匪夷所思的是,该用户还提到更换滤芯产生了190元费用,但沁园售后拒绝却开具收据或发票。
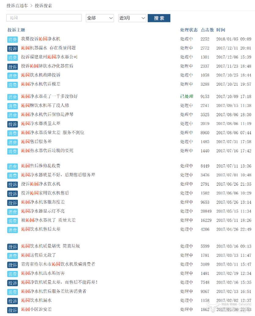
专业人士指出,售后方面如此做法十分可疑,可能更换给用户的滤芯都不是原装的。事实上,从沁园在一家用户投诉平台上留下的劣迹来看,有近一半的用户都在抱怨其售后存在的各种问题,然而这些投诉的处理率却仅为3.4%!

在运营商世界网编辑看来,产生投诉的消费者都是沁园净水产品的家庭用户,也许作为商用净水厂商沁园的口碑还算不赖,但家用净水业务却相形见绌。在这样的情况下,沁园一月之前收入囊中的“2017中国净水行业品牌盛会卓越影响力品牌奖”究竟是怎么拿到的呢?
运营商世界网(官方微信公众号tel_world)—— TMT行业知名新锐媒体,一家专注通信、互联网、家电、手机、数码的原创资讯网站。
分享至:


