更多资讯可登录运营商财经网(telworld.com.cn),也可关注微信公众号tel_world
运营商财经网 秦佰铃/文
日前,长城汽车公布了今年6月的产销快报,当月长城汽车共销售新车63299辆,同比去年增长了1.79%,其中WEY品牌6月份销量6755辆,同比下滑35.55%。运营商财经网发现,自今年以来,长城汽车WEY品牌一直处于颓势,今年累计销量下滑近40%。

产销报告显示,6月WEY品牌旗下四款车型,VV5销量为1002台,VV6销量为4691台,VV7销量为1016台,P8销量为47台,总体上VV6只有小幅度增长,其中新能源车P8更是是惨不忍睹,成为掣肘WEY品牌的一大短板。
按道理来说,WEY品牌作为长城汽车力推的的中高端豪华SUV品牌,在对标车型上甚至敢向奔驰叫嚣,为什么现在渐渐有点凉了呢?
运营商财经网认为,这其中或许有两个原因,一是长城汽车旗下车型众多,尤其是哈佛,哈佛H系列和F系列9在内的一大批车型分去了集团的大半资源;二是尽管WEY品牌的质量和地位并不匹配。

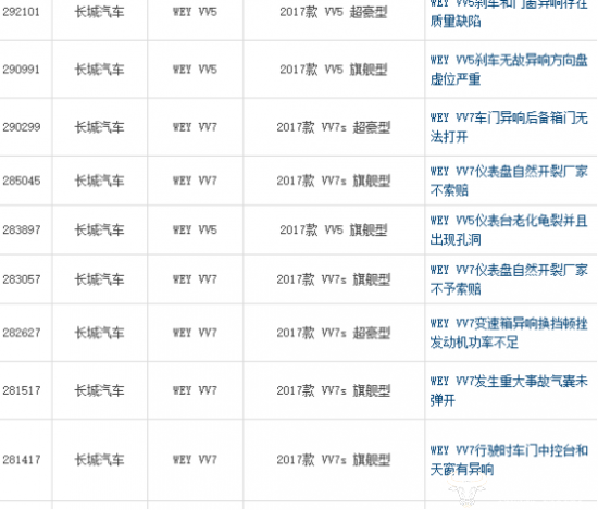
事实上,关于WEY品牌的诟病由来以久,尽管很多人被其低价格高调性吸引,但开过这辆车的不少车主都表示,WEY品牌汽车开起来并不舒服。突出的问题在于发动机故障多和车内异响大,相关数据显示,WEY品牌在全国汽车消费者投诉受理处置服务平台上投诉量达到150次,其中多为重要核心配件不合格。

如果说一些小打小闹还好,但就网上资料显示,WEY系列还曾因断轴召回WEY VV5和VV7s 两辆车,就断轴车主表示,但时车速和行驶环境都很正常,断轴发生的非常突然。

运营商财经网了解到,去年10月长城汽车WEY品牌CEO严思宣布因家庭原因离职,直到目前WEY品牌总经理一职还无人接手,因此有不少人猜测,严思离职还有一大方面原因是因为WEY业绩,虽然长城汽车没有公开说明,但WEY品牌CEO职位空缺近一年,一直是长城汽车董事长魏建军在负责管理,如今销量颓势还未逆转,能否找到下一任接替者还是未知数。
(责任编辑:秦佰铃)
运营商财经网(官方微信公众号tel_world)—— 主流财经媒体,一家全面覆盖科技、金融、证券、汽车、房产、食品、医药及其他各种消费品报道的原创资讯网站。


