更多资讯可登录运营商财经网(telworld.com.cn),也可关注微信公众号tel_world
运营商财经网 秦佰铃/文
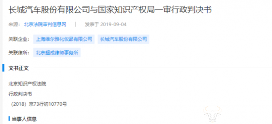
日前,运营商财经网从企查查处得知,长城汽车股份有限公司(以下简称“长城汽车”)WEY品牌商标争议有了新进展,时隔一年,长城汽车做的努力似乎没有白费,但运营商财经网发现,长城WEY商标仍存在三大争议。

争议一:注册时用在空气芳香剂、化妆品等日化用品品类
运营商财经网发现,“WEY”商标是长城汽车在2016年11月15日申请注册,当初注册时指定使用在第3类的空气芳香剂、非医用洗浴制剂、清洁制剂、抛光制剂、磨光制剂、香精油、化妆品、非医用漱口剂、香、动物用化妆品等商品上。
但长城汽车却将其用在汽车品牌上,虽然不清楚WEY商标此后有无更改类别,但这是否违反规定?当然,或者还有别的原因也犹未可知。

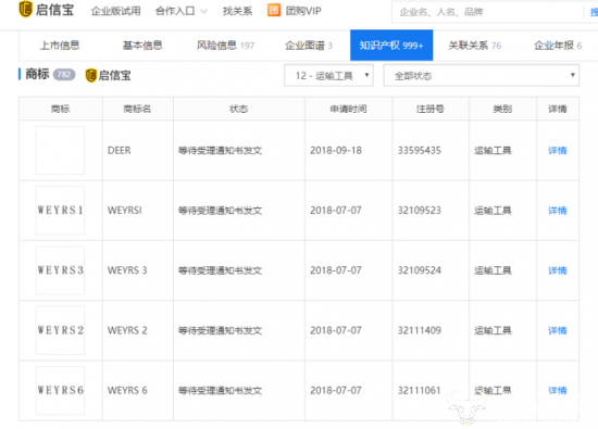
不仅如此,运营商财经网发现,长城汽车的魏派、哈弗等诸多商标也注册在日化用品品类中,不过新注册的要走高端路线的WEYRSI是注册在12运输工具品类里的。

运营商财经网向专业人士了解到,对于驰名商标,可以用于公司的其他商品上,但据运营商财经网了解,长城汽车公司的商标为驰名商标可以使用,但WEY商标并非为驰名商标,长城汽车这种做法是不是也合理呢?对于此疑问,运营商财经网采访了长城WEY品牌公关经理,对方以不了解、不清楚为由未作出回答。
争议二:注册时已有引证商标注册 早于WEY品牌11年
在一审判决中,原国家工商行政管理总局商标评审委员会表示,针对长城汽车WEY商标的注册申请,商标局作出《商标部分驳回通知书》,决定:一、初步审定在第3类:“空气芳香剂”上使用该商标的注册申请,予以公告。二、驳回在第3类:“非医用洗浴制剂,清洁制剂,抛光制剂,磨光制剂,香精油,化妆品,非医用漱口剂,香,动物用化妆品”上使用该商标的注册申请。
同时商标局表示,上海维尔雅化妆品有限公司早在2005年1月27日就申请注册了“WEYSARE CKIN及图”商标,核定使用在第3类的香波、洗涤剂、去污剂、擦亮用剂、磨光制剂、化妆品用香料等商品上,专用期限自2008年4月7日至2018年4月6日。
不过,长城汽车WEY商标2016年11月15日申请注册,因商标驳回判定作出时,上海维尔雅化妆品公司的商标仍在宽展期内,系有效的在先注册商标,因此长城汽车WEY商标申请驳回。
争议三:长城公司WEY商标案由败到胜是否钻了空子?
不过,长城公司对此表示不服,称“长城汽车公司是最大的SUV和皮卡制造企业,“WEY”商标已具有较高的知名度。且诉争商标与引证商标在字母构成、整体外观、含义等方面差异明显,未构成使用在类似商品上的近似商标。”

因为一审时,上海维尔雅化妆品公司的商标宽展期到2018年4月6日,长城公司在2018年8月20日案件审理后有效期内又向法院提起诉讼,“引证商标因期满未续展其专用权期限已终止,不再成为本案诉争商标的在先权利障碍……被诉决定应予撤销。”
运营商财经网从企查查上了解到,法院二审判决最多指出,也是二审的重要依据,就是“鉴于情势变更事由发生”。
不过,值得关注的是长城汽车二审胜诉,法院通过长城汽车WEY商标使用权,从启信宝可知,目前WEY商标状态为等待实质审查。此外,就运营商财经网了解,长城汽车WEY商标2016年11月15日申请注册,11月16日就在广州发布WEY品牌发布会,时间非常紧凑。
(责任编辑:康玲华)
运营商财经网(官方微信公众号tel_world)—— 主流财经媒体,一家全面覆盖科技、金融、证券、汽车、房产、食品、医药及其他各种消费品报道的原创资讯网站。


