运营商财经网 实习生/何静
“燕麦第一股“西麦食品副总廖丽丽如今已年过五十,除董事长谢庆奎七十二岁外,在西麦食品所有的高管中她工龄最长,贡献也很大。

公开资料显示,1996年7月到2002年3月,她任桂林市面粉厂工艺主管、中心化验室主任,后担任桂林市桂强面粉实业公司研发主管。根据年龄推算,廖丽丽也就是在23岁,大学刚刚毕业来到了这家面粉实业公司。
2003年3月,正式进入西麦食品公司任品管部经理,这期间她干了有14年时间,直到2017年,廖丽丽才升任公司副总经理,至今仍是公司副总经理。她在西麦食品公司待的时间其实并不算短,这个升职速度在行业内来看也不算快。
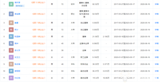
据天眼查App显示,在所有的副总经理中,廖丽丽年薪56.37万,是副总经理中薪酬最低的,比薪酬最高的副总经理孙红艳的115.4万低了将近一半。二人都是同一年出任副总经理,怎么年薪却如此不一样?这背后的原因,我们不得而知。

3月21日西麦食品在交易所互动平台中披露,截至3月20日公司股东户数为19838户,较上期(3月10日)减少83户,环比降幅为0.42%。这已是该公司股东户数连续第5期下降,累计降幅达15.63%,也就是说筹码呈持续集中趋势。
不知道廖丽丽是否了解这个情况,对此情况又有什么看法。西麦食品2023年的财报还没有公布,不知道西麦食品今年是否还能保持在麦片行业的高占有率。
未来有关西麦食品的消息,运营商财经网将持续关注。
(责任编辑:康玲华)
运营商财经(官方微信公众号yyscjrd)—— 主流财经网站,一家全面覆盖科技、金融、证券、汽车、房产、食品、医药、日化、酒业及其他各种消费品网站。


