运营商财经网 实习生王鑫垚/文
据天眼查APP显示,吉利汽车于近日在南京成立精灵智行公司。开年以来,吉利动作不断,年初就曾在一天内成立两家投资公司,吉利投资管理(天津)有限公司和吉利投资管理(镇江)有限公司,注册资本都是100万人民币,法定代表人同为吉利控股集团高级副总裁张权。本次运营商财经网就将目光放在了张权身上,试图揭秘他的过往经历。

张权出现在媒体报道中的频率不高,官网也没有披露他的具体年龄信息。但运营商财经网通过吉利控股官网得知,张权2002年毕业于上海财经大学,取得了国际会计学学士学位。
对于张权2002年毕业后的工作经历,吉利控股并没有披露,他本人也没有透露。据官网公示的信息表明,张权2014年4月才加入吉利控股集团。据此推算他已在吉利控股集团任职逾九年。
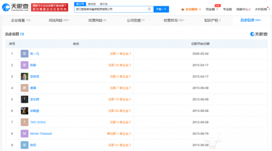
但引起运营商财经网注意的是,天眼查显示,张权曾于2013年8月9日任职于浙江智慧普华融资租赁有限公司,该公司成立于2013年8月9日,注册资本为10786万美元,同时任职的还有吉利汽车执行董事兼董事会副主席李东辉,吉利汽车集团董事长安聪慧。

而股东信息中,浙江吉利汽车有限公司、吉利国际(香 港)有限公司郝然在列。此外,经查证,另一股东浙江众尖投资有限公司由浙江吉利控股集团有限公司百分百持股。

由此,可以看出张权和吉利的渊源要早于官方披露的2014年,更早时应该也是在吉利相关企业工作。
其后,张权颇受重用,担任过吉利汽车集团财务部部长、吉利控股集团资金部部长、战略财务中心总监等职务。
2021年张权出任吉利控股集团副CFO,同年五月担任吉利控股集团CFO兼任吉利控股集团高级副总裁。7年时间成为吉利控股集团管理团队成员之一,职位稳步提升。
张权公开露面的次数并不多,不过在今年4月11日,财通证券与浙江吉利控股集团签订战略合作协议,张权与吉利控股集团CEO李东辉等高管共同出席了签约仪式。
但是,奇怪的是,身为CFO,张权却未进吉利控股集团上市公司高管名单,而内审总监潘志杰这样的看起来头衔不如张权的都在吉利控股集团上市公司高管名单里。
未来运营商财经网也将持续关注张权的发展情况。
(责任编辑:郝紫艳)
运营商财经(官方微信公众号yyscjrd)—— 主流财经网站,一家全面覆盖科技、金融、证券、汽车、房产、食品、医药、日化、酒业及其他各种消费品网站。


