运营商财经网 陈聪敏/文
日前,冰川网络公布了2022年年报,年报显示,2022年冰川网络营收约20.46亿元,较2021年翻了3倍,扣非归母净利润约9470万,实现扭亏为盈。公司营收实现如此大幅度的增加,的确有点不可思议。年报公布不久,冰川网络便收到深交所的关注函。
运营商财经网由此关注到冰川网络的高管团队,试图揭秘其财务总监董嘉翌的过往经历。

公开资料显示,董嘉翌是一位85后,她出生于1988年,今年才35岁。她是硕士学历,但是毕业院校、所学专业等信息均未公布。
从任职经历来看,董嘉翌在财务管理方面有着丰富的工作经验,她曾先后任腾讯科技(深圳)有限公司财务、腾讯科技(北京)有限公司财务、前海鹰眼投资咨询(深圳)有限公司财务总监、深圳域夕恒投资管理有限公司财务总监。
大概是在2018年9月,董嘉翌加入冰川网络,出任公司财务总监一职。而当时,她不过30岁的年纪。

东方财富网信息显示,董嘉翌2022年获得的薪酬为79.39万元,这个薪酬还可以,公司副总兼董秘梅薇红的薪酬跟她差不多,梅薇红的薪酬为79.37万元。此外,董嘉翌持有公司2.16万股的股票。
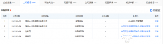
值得注意的是,天眼查信息显示,2022年5月24日,冰川网络收到中国证券监督管理委员会深圳监管局出具的警示函。
警示函显示,2022年3月30日,冰川网络披露2021年度业绩预告修正公告,对2021年业绩预告大幅修正。
经查,冰川网络在2021年度业绩预告编制过程中,未能合理确定公司合并财务报表范围,导致公司此前披露的2021年度业绩预告中的财务数据出现重大偏差,深圳监管局决定对其采取出具警示函的监管措施。

而刘和国作为公司董事长兼总经理,董嘉翌作为公司财务总监,未按照相关定勤勉履行职责,对上述问题负有主要责任,深圳监管局决定对刘和国、董嘉翌采取出具警示函的监管措施。
冰川网络及其高管团队未来的动态,运营商财经网将继续关注。
(责任编辑:康玲华)
运营商财经(官方微信公众号yyscjrd)—— 主流财经网站,一家全面覆盖科技、金融、证券、汽车、房产、食品、医药、日化、酒业及其他各种消费品网站。


