运营商财经网 实习生易鑫/文
近日,南方黑芝麻因主业业绩下滑、营收和净利润增长不匹配等原因遭到深交所的业绩问询,而黑芝麻就市场投入和公司计提了资产减值准备两个方面做了问答回复。作为老牌食品公司的南方黑芝麻怎么了?
运营商财经由此注意到黑芝麻背后的高管团队,并试图揭秘公司副总裁李文杰的过往。

名字叫黑芝麻的有两个公司,一个是做食品的南方黑芝麻,另一个做汽车智能驾驶的黑芝麻智能。本文所指的是南方黑芝麻集团。
据公开资料显示,李文杰1970年出生,今年53岁,硕士学历,但有关他学历的具体信息官方并未披露,运营商财经也不好确认这份学历的含金量。
在进入公司担任职位之前,李文杰曾任黑五类集团办公室秘书、进出口部经理,广西南方米粉有限公司总经理,广西黑五类物流有限公司总经理,广西南宁黑五类农产品物流有限公司总经理,钟祥市我家庄园健康食品有限公司执行董事、总经理。
除此之外,他还担任过广西南方黑芝麻的总经理秘书、销售部经理和副总经理。
观察他的任职经历可以发现,他工作过的公司大多都是黑五类集团旗下的,可以说,李文杰有着比较丰富的与黑芝麻相关的工作经历。
据天眼查显示,李文杰2021年薪酬为85.75万元,与公司其他副总裁的薪酬差不多。

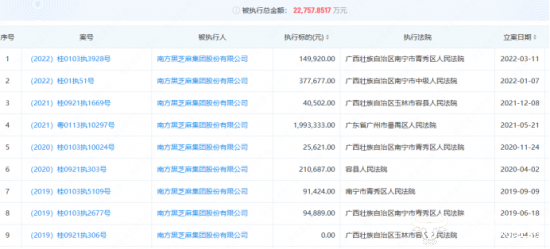
值得关注的是,黑芝麻曾多次被列为被执行人,被执行标的总额高达2亿多。2021年,中国执行信息公开网显示,广西黑五类食品集团有限责任公司被南京市溧水区人民法院列为被执行人。执行标的金额1976.3755万元。多次被列为执行人,这说明黑芝麻的官司多,倒并非是付不起款。

事实上,黑芝麻近年来的跨界转型也备受外界关注。2017年,黑芝麻、天臣新能源(深圳)有限公司和大连智云自动化装备股份有限公司共同出资设立天臣新能源,以进军新能源市场。但令人不解的是,此后黑芝麻便对天臣新能源出现了反复的减资和增资的操作。
2019年,黑芝麻决定对天臣新能源出资由3亿元减至9000万元,根据协议表明,天臣新能源最晚应在2022年3月30日之前向黑芝麻支付2.1亿元的减资款。
在此期间,天臣新能源分别于2022年3月和8月先后向黑芝麻支付了1.1亿元和4000万元减资款,剩余6000万元的减资款未支付。
但此后黑芝麻在未履行审批程序和信息披露义务的情况下,将这6000万元转为对天臣新能源的增资款,并且在同年10月,发布公告称将进一步对天臣新能源增资5亿元。此事一出,立刻受到深交所的关注,并就此事向黑芝麻下发询问函。
然而,天臣新能源还没等来这笔增资款,反而是等来了黑芝麻宣布终止对其增资5亿元的事项。
黑芝麻转而将其全资子公司江西小黑小蜜食品有限责任公司的主营业务转型为新能源产业生产经营,并在江西南昌新建区投资35亿元建设锂电池的生产基地。
值得一提的是,35亿元的投资额当中,有约22亿元将来自银行贷款。
未来黑芝麻将如何发展?运营商财经将持续关注。
(责任编辑:康玲华)
运营商财经(官方微信公众号yyscjrd)—— 主流财经网站,一家全面覆盖科技、金融、证券、汽车、房产、食品、医药、日化、酒业及其他各种消费品网站。


