运营商财经网 朱欣雨/文
近年来,国潮品牌波司登副总裁高晓东一直神秘低调,极少出席公开活动,不料他竟是集团创始人、现任董事长高德康及其妻子梅冬(现任集团执行总裁)的儿子。那他具有什么过往经历呢?接下来,运营商财经网就来试图揭秘。

据波司登官方资料显示,高晓东出生于1975年,今年48岁,高级经济师,于2009年获得美国森坦那瑞大学(Centenary College)工商管理硕士学位。但其本科毕业院校、所学专业等信息都未在网络上披露。且据了解,高晓东于2002年就进入波司登,那他的硕士学位应该是在职取得。
网上也未查到美国森坦那瑞大学在世界高校中的排名,令人奇怪这到底是什么层次的学校。而且,美国正规的大学文凭都需要在美国本土念才能获得,不能在美国以外的国家念。
2002年,彼时27岁的高晓东进入波司登股份,此后又于2013年加入本集团,任公司副总裁,全面负责集团的多元化服装业务。经过一路历练,他已在服装、高速公路、房地产、酒店等领域积累了丰富的经验。2017年3月,高晓东终于获任为波司登集团执行董事,直至今日。
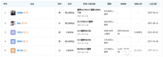
除此之外,高晓东还在其他附属等关联公司任董事长、总经理等职。据企查查显示,高晓东的薪酬为176.4万元,比同为副总裁的黄巧莲、芮劲松的737.9万、6485.4万少了许多。

据悉,在此次财报中,品牌羽绒服业务依然是集团收入的主要来源,同比增长2.7%至135.75亿元,占总收入的80.9%,其中主品牌波司登贡献了117.63亿元,同比增长1.2%。同时,波司登将该年业绩提升归因于坚持“品牌引领、产品领先、渠道升级、优质快反”四项核心竞争力,渠道升级在财报中体现的尤为明显。
值得注意的是,就在前不久,波司登旗下品牌雪中飞童装衬衫被检不合格。
据市场监督管理总局发布的2022年网售产品质量国家监督抽检报告显示,在儿童及婴幼儿服装领域抽检中,1批次雪中飞的长袖衬衫被检出纤维质量不合格。而波司登控股持有雪中飞实业有限公司70%股份,为实际控股人。
此后,天猫雪中飞kids童装旗舰店客服回应,不合格产品已于去年下架了,目前在售产品都是合格的。

未来,运营商财经网将持续关注波司登相关动态。
(责任编辑:康玲华)
运营商财经(官方微信公众号yyscjrd)—— 主流财经网站,一家全面覆盖科技、金融、证券、汽车、房产、食品、医药、日化、酒业及其他各种消费品网站。


