运营商财经网 实习生王鑫垚/文
近日,日产公布了2023年7月中国区业绩,数据显示,东风日产销量为56495辆,环比下滑12.81%,同比下滑34.67%。本次运营商财经网就将目光聚焦于东风日产总经理助理王骞身上,为大家揭秘他的过往经历。

尽管王骞露面次数不算少,但是有关他的个人信息少有资料披露。据公开资料显示,多年来,王骞一直在东风日产任职。
2018年-2020年间,王骞一直服务于东风日产乘用车公司,他从华北区营销中心总监开始做起,通过努力成为市场销售总部市场部部长助理、市场部副部长。
或许得益于他在市场部积累了充足的经验,2021年,王骞再出现在公众面前的时候,他的身份已经变成了东风日产汽车销售有限公司市场部副部长。
公开数据显示,今年上半年东风日产累计销量为33.5万辆,同比下滑28.02%。可能是此前在市场部任职时间更长,王骞在接受采访时,较少提及销量问题,强调用户比较多。
他曾在接受采访时表示“今年是东风日产第二十周年,这二十年来最大的财富就是1500万保有客户”他还说“能直接联系上的用户有大几百万”。这表明东风日产到现在为止已经在中国卖了很多辆车。
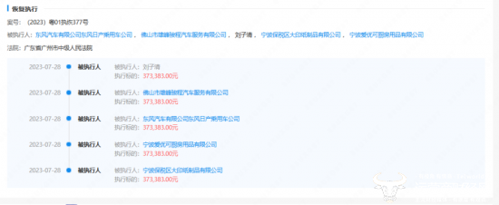
近日,据天眼查APP显示,东风汽车有限公司东风日产乘用车公司成为了被执行人。
该案件是在2018年发生的一起侵害发明专利权纠纷案,经2021年广东省广州市中级人民法院判决首次执行,东风汽车有限公司东风日产乘用车公司被执行509120元;今年7月28日恢复执行,东风日产乘用车公司被执行373383元。


通过王骞此前的工作经历可以发现他一直在营销部、市场部任职,所以侵害发明专利权应该和他没有太大关系。运营商财经网将持续关注东风日产和王骞的未来发展情况。
(责任编辑:郝紫艳)
运营商财经(官方微信公众号yyscjrd)—— 主流财经网站,一家全面覆盖科技、金融、证券、汽车、房产、食品、医药、日化、酒业及其他各种消费品网站。


