运营商财经网 易鑫/文
日前,燕塘乳业披露了今年前三季度业绩预告,报告显示公司今年前三个季度净利润预计同比增长65%到85%。公司副总吴乘云功不可没,接下来运营商财经网试图梳理一下其职业过往。

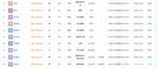
据公开资料显示,吴乘云1973年出生,今年50岁,有本科学历,但对于其学历的具体相关信息,官方则未披露,是否是全日制本科,这个也无法确定。
此前,他曾任职于广东省燕塘企业总公司,和广东燕塘物业管理有限公司。广东省燕塘企业总公司是区域性乳业企业。
在2002年的时候,他才加入公司。入职至今,吴乘云先后担任公司办公室主任、营销事业部部长的职位。
2013年12月26日,他开始担任公司的副总经理,今年是他上任的第10年。
据天眼查显示,吴乘云去年的薪酬为121.6万元还不错,和公司同级高管的薪酬差不多。

值得注意的是,近期公司监事亲属曾买卖公司股票引发关注。据了解,公司监事陈淼的配偶郭岩松在今年9月18日买入公司股票3.33万股,在9月22日又将该股票全数卖出,所产生的收益为247元。这种买入和卖出行为的时间间隔不足六个月,构成了短线交易。深圳证券交易所在9月28日对陈淼发出了监管函。
公司对此表示,已对该此事采取相关措施,并表示此次买卖公司股票行为系郭岩松未充分了解相关法律、法规的规定所致,陈淼对该交易情况并不知情,不存在利用内幕信息谋求利益的目的情形。

此前,燕塘乳业发布“2023—2030年发展规划”,提出要在2030年实现50亿元营收,以及“精耕广东、聚焦湾区、覆盖华南、迈向全国”等目标。但根据公司去年的财报数据计算,要达成这一目标,公司需要在未来8年实现营收增长1.6倍,压力可谓是不小。
未来吴乘云和燕塘乳业将如何发展?运营商财经将持续关注。
(责任编辑: 易鑫)


