运营商财经网 /实习生陈静
房地产巨头融创集团的负债率已显露惊人,而在创始人孙宏斌的身边,有一位陪伴他二十多年的老将,从顺驰到融创,俩人始终共进退,如今这位老将不仅是融创中国的执行总裁,还是融创地产的董事长,他的名字叫做汪孟德。
接下来,运营商财经网试图对汪孟德进行揭秘。

汪孟德出生于1971年,今年52岁,安徽人。1997年,他从南开大学审计专业毕业,后就读于北京大学光华管理学院。
据说,汪孟德从南开毕业后是想回家乡安徽发展的,但不知是什么原因却让他留在了天津。他先是进入了一家中韩合资的企业工作,在公司担任财务负责人。
两年后,也就是1999年,汪孟德加入了顺驰。当时的顺驰还没有很壮大,只是在天津有些许知名度。汪孟德从出纳员做起,做到了天津顺驰房地产公司的副总经理,随后又成为天津顺驰投资公司的总经理。
2003年,顺驰已经成为天津房地产界的佼佼者,占领了天津地产市场30%的市场份额。同年,在顺驰全国扩张的背景下,汪孟德被任命为顺驰华东集团总经理。
2006年可以算是汪孟德职业生涯的高光时刻。或是因为汪孟德开拓顺驰华东市场有功,他被任命为顺驰中国的首席运营官,随后又被升任为公司副总裁和集团首席财政官。在不到半年的时间里完成了职业生涯的两级跳。
同年,因为顺驰资金链出了问题,孙宏斌不得已低价贱卖资产,这时候的顺驰员工面临着去留问题。汪孟德已然成为孙宏斌的心腹,他不准备离开孙宏斌,孙宏斌也仍然想重用他。
2006年10月,汪孟德加入了融创中国,任副总裁、财务总监,成为最早一批进入融创的“老顺驰人”。
2010年10月,融创中国在香 港联交所主板上市,汪孟德也再次升任,成为融创中国执行董事、副总裁及集团首席财务官。
2015年9月,融创中国突然发布人事变动公告。公告称,孙宏斌已辞任公司行政总裁,由汪孟德接任,孙宏斌仍继续担任公司董事会主席等职位。
公告给出的解释是,孙辞去行政总裁一职是为了投入更多的时间来履行董事会主席职务,至于具体原因是否如此,尚不得知。
2016年年末,融创中国实现销售金额1506亿元,跻身中国房企前十位,汪孟德也被外界称为融创的“财神”。
值得一提的是,网上有报道描述孙和汪的性格十分互补。孙宏斌喜欢侃侃而谈,做事激进且冲动,个性很鲜明,而汪孟德为人却很低调内敛,话不多,性格较为腼腆,做事偏冷静和理性。
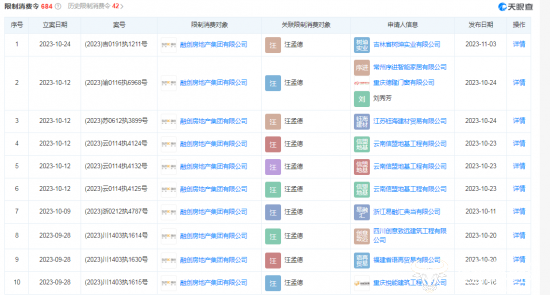
运营商财经网注意到,天眼查APP显示,11月2日、3日,融创房地产集团有限公司新增多条被执行人信息,执行标的合计7.1亿余元。而该公司的董事长便是汪孟德。

同时,光今年10月份一个月,汪孟德就被限制高消费7次。

根据融创中国最新财报,截至2023年中,该公司总资产为10699.71亿元,总负债10027.39亿元,净资产仅为672.32亿元,资产负债率高达93.7%。
(责任编辑:王鑫垚)
运营商财经(官方微信公众号yyscjrd)—— 主流财经网站,一家全面覆盖科技、金融、证券、汽车、房产、食品、医药、日化、酒业及其他各种消费品网站。


