运营商财经网 陈静/文
近几年,房地产行业对安全工作的重视程度越来越高,但在项目实施过程中,仍有意外发生。运营商财经网注意到,保利发展旗下的子公司保利淮安房地产发展有限公司去年就发生过一起事故。

根据江苏省住建厅发布的通报来看,2023年8月,保利淮安房地产发展公司所建设的淮安堂悦项目园林绿化工程,发生了一起高处坠落生产安全事故,导致1人死亡。
该工程的总承包单位是广州普邦园林股份有限公司,专业分包单位为南京信卓承装饰工程限公司。
事故发生后,上述总承包单位的安全生产条件已降低,自通报发布后其不得在江苏省内承揽新的工程项目。
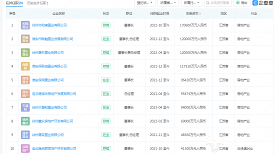
运营商财经网注意到,保利淮安房地产发展公司的法定负责人为汪本俭,他在保利发展供职的年头应该挺长,早在2014年,他就曾以陕西保利房地产开发有限公司总工程师的身份出席过房地产相关的交流会,后来,他被提拔到了保利陕西公司副总经理的位置上。
目前,汪本俭的职务已变更为淮海公司总经理。据企查查APP显示,他在保利发展江苏区域的多个子公司担任重要职务。

运营商财经网发现,2022年8月,保利江苏区域就曾发生过一起高处坠落生产安全事故。
据江苏省住房和城乡建设厅发布事故通报显示,2022年8月21日,常州市丁香路南侧、月季路西侧地块20#、23-29#、小区变5、小区变7、门卫1、门卫4、地下车库五项目工地,发生一起高处坠落生产安全事故,致1人死亡。
看来,保利江苏区域的生产安全隐患仍存,希望相关负责人能够担起责任,始终把安全生产工作的重要性放在心里。
(责任编辑:陈静)
运营商财经(官方微信公众号yyscjrd)—— 主流财经网站,一家全面覆盖科技、金融、证券、汽车、房产、食品、医药、日化、酒业及其他各种消费品网站。


