运营商财经网 陈静/文
保交付作为民生底线,是当前房企的首要任务,不少消费者也极其关注该问题。运营商财经网注意到,吕梁离石新城碧桂园三期在去年就出现过逾期交付的问题。

在吕梁市官网的市长信箱板块,有业主反映,吕梁离石新城碧桂园三期合同上,交房日期为2023年9月15日,但临近交付日期时,该项目仍有多数工序未完成,且还未复工,面临延期交付风险。
随后,市城管局答复道,三期因受前期疫情影响,加之施工单位发生变更,预计无法按照合同约定时间交付。为此,市住建局已督促吕梁市碧桂园房地产开发公司会同施工单位拿出切实可行的方案,通过合理安排施工材料、交叉作业等方式,抓住最后一个月时间,在保证施工安全、施工质量的前提下满负荷施工,今年年度务必交付。
企查查APP显示,吕梁市碧桂园房地产开发公司的法人为杨文杰。有网上的文章称,杨文杰是碧桂园创始人杨国强的亲戚,但不知真假,他出生于1954年,今年70岁,与杨国强差不多大,从2015年4月起开始担任碧桂园地产总经理、法定代表人及信息披露事务负责人。
2023年10月,碧桂园地产集团发布公告称,杨文杰届满退休,经公司股东及董事会决议,同意免去杨文杰公司总经理及法定代表人职务。
有不少媒体猜测,杨文杰只是碧桂园名义上的总经理和法人,其实他并不承担具体的工作。
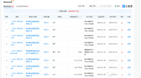
运营商财经网注意到,杨文杰曾被限制高消费250余次,涉案总金额8亿多。

目前,碧桂园山西区域的总裁为王建家,他曾担任过海南区域副总裁、常务副总裁。
(责任编辑:陈静)
运营商财经(官方微信公众号yyscjrd)—— 主流财经网站,一家全面覆盖科技、金融、证券、汽车、房产、食品、医药、日化、酒业及其他各种消费品网站。


