运营商财经网 陈静/文
运营商财经网在对旅行平台质量进行梳理盘点过程中,发现马蜂窝微信小程序曾因违规收集个人信息被通报。

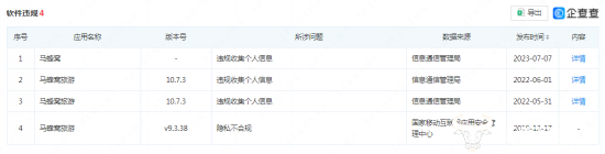
据企查查APP显示,2023年7月,马蜂窝因违规收集个人信息,被信息通信管理局通报。
值得一提的是,2022年5月底,工信部曾发布侵害用户权益的APP名单,当时有84款APP未按要求完成整改,其中也有马蜂窝旅游APP,开发方同样是北京马蜂窝网络科技有限公司,应用来源是OPPO软件商店,应用版本是10.7.3,所涉及的问题同样是“违规收集个人信息”。
连续2年因为同一个问题被通报,虽然是不同的客户端,一个是APP,一个是小程序,但都暴露出公司对于处理该问题的消极态度。

马蜂窝软件和小程序的开发者为北京蚂蜂窝网络科技有限公司,公司创始人兼CEO为陈罡。陈罡是贵州人,毕业于成都信息工程大学通信工程专业,毕业后就进入了互联网公司,曾在搜狐和新浪供职过多年。
运营商财经网注意到,马蜂窝除了违规收集个人信息,还曾因发布虚假广告被北京市工商行政管理局处罚30万。
其来由是,2017年3月14日,消费者通过马蜂窝运营的网站预订4月1日入住“虹桥喜来登上海太平洋大饭店”,在该笔交易中,马蜂窝收取35.55元服务费。但3月23日,该酒店更名为“虹桥锦江大酒店”。因消费者投诉,朝阳工商分局认定马蜂窝发布虚假广告,对其处以30万元罚款。
不知道马蜂窝创始人、CEO陈罡怎么看待此事。
(责任编辑:朱欣雨)
分享至:
文章关键词:
马蜂窝


