运营商财经网 朱欣雨/文
3月19日,嘀嗒出行再次向港交所递交了招股书,这是自2020年10月之后第五次冲击IPO了,此消息一出便再次引发行业关注。运营商财经网注意到,嘀嗒出行此次谋求上市的背后还隐藏着不少的问题,比如诉讼纠纷不断等等。

营业收入超九成来自顺风车
招股书显示,嘀嗒出行目前的业务主要包括顺风车平台、智慧出租车服务和广告及其他服务。但除了顺风车之外,其余两项业务基本挣不了多少钱,嘀嗒出行的营业收入主要还是靠顺风车,超九成的收入都来自于此。
2021年、2022年及2023年,嘀嗒出行分别录得收入约7.81亿元、5.69亿元及8.15亿元;其中顺风车平台服务产生的收入分别约6.95亿元、5.15亿元、7.74亿元,分别占同年收入的89.0%、90.5%及95.0%,依赖顺丰车平台越来越严重。
关键是嘀嗒出行的收入兜兜转转,起2022年营收比2021年低多了,甚至远不如2020年,其2023年的收入也就是2020年左右的水平。招股书显示, 2020 年,嘀嗒出行营收7.91 亿元,2023年也仅为8.15亿元。

行政罚款不少 诉讼纠纷不断
招股书显示,自2020年起,嘀嗒出行顺风车平台累计接获57宗行政罚款,其中36宗后续已于截至本文件日期撤销,余下21宗行政处罚由5000元至3万元不等,合共约55万元。
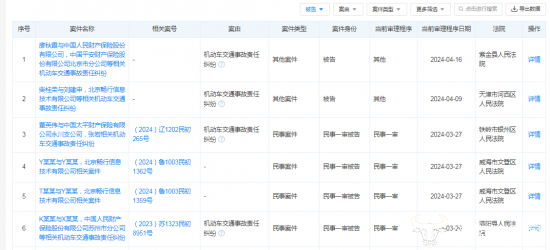
运营商财经网从天眼查获悉,今年以来,嘀嗒出行的关联公司北京畅行信息技术有限公司作为被告的身份案件就高达20件,案由大多是机动车交通事故责任,案件当前审理程序日期在3月19日之后的还有六项案件。

除上述问题之外,嘀嗒出行的服务成本在不断升高,服务成本占收入的比重已从2021年的19.1%上升至25.7%,毛利率也呈现出下降趋势,2021年毛利率为80.9%,2022年就下降至75.1%,2023年又下降至74.3%。
实权掌握在宋中杰手里
目前,嘀嗒出行最大的股东是联合创始人的共同控股公司(即5brothers Limited),实际拥有已发行股份总数约33.57%的权益,并且所持有的股份拥有嘀嗒出行股东大会上所有投票权50%的投票权。
公开资料显示,5brothers Limited是由宋中杰、李金龙、朱敏、段剑波、李跃军共同控股公司,分别持有其59.33%、10.87%、10.87%、10.87%、8.06%股份。
嘀嗒出行自成立以来,共完成5轮融资。投资方包括蔚来资本、IDG、崇德资本、易车网、高瓴、京东及携程。其中,蔚来资本是其第一大外部股东。
嘀嗒出行近三年一直在不断谋求上市,然而IPO的征程却一路波折,此次能顺利上市吗?运营商财经网拭目以待!
(责任编辑:朱欣雨)


