运营商财经网 陈静/文
3月19日,正荣地产发布公告,预计集团2023年录得母公司拥有人应占亏损约80亿至90亿元,相比2022年有所减少。

公告显示,2022年母公司拥有人应占亏损128.77亿元,核心亏损约35.506亿元。2023年预计取得母公司拥有人应占亏损约人民币80亿-90亿元,核心亏损约人民币25亿-30亿元。
公告称,母公司拥有人应占亏损主要源于以下原因:
随着房地产行业整体需求下滑,项目售价及毛利率下降,而开发中物业、持作出售已竣工物业及其他资产相关减值拨备则相应增加;融资成本上升;投资物业公平值下降;及取得汇兑亏损。预期亏损将会减少,主要由于2023年度毛利增加及减值亏损减少。
3月初,正荣地产就曾发布公告,公司2024年到期8.35%优先票据即将于3月10日期满退市。
公告显示,受进行中的境外整体债务管理方案影响,正荣地产预期无法于2024年3月10日到期时支付2020年5月票据的未偿还本金额2亿美元及其应计未付利息。
此外,于同意费用截止期限,持有现有债务超过79%的参与债权人已加入重组支持协议。在债权人的支持下,正荣地产正着手实施境外整体债务管理方案,就计划召开的聆讯预计订于2024年5月2日在法院举行。
截至最新,正荣地产无存续境内债,存续中资美元债 14 只,存续余额 33.567亿美元,均已违约。
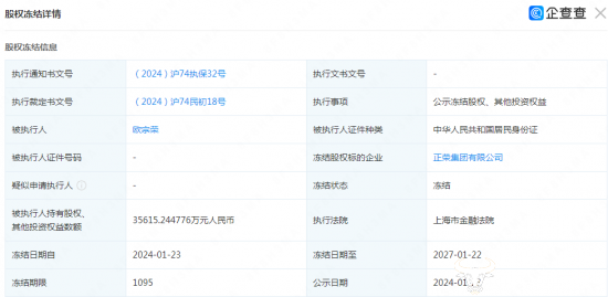
正荣集团的创始人为欧宗荣,如今公司业绩亏损,债务违约,他的处境想必也不轻松。据企查查APP显示,今年1月,他作为被执行人,被冻结股权3.5615亿元。

(责任编辑:陈静)
运营商财经(官方微信公众号yyscjrd)—— 主流财经网站,一家全面覆盖科技、金融、证券、汽车、房产、食品、医药、日化、酒业及其他各种消费品网站。


