运营商财经网 实习生龚婉/文
近日,海螺新材新公布了一项发明公布专利,发明人是王杨林、朱守益、唐圣奎等人。其中一位是海螺新材的副总朱守益,运营商财经网试图梳理他的过往经历。

朱守益是位高级工程师,出生在1977年,今年47岁。
公开信息显示,2002年朱守益从安徽理工大学毕业,通过出生时间计算这年他25岁左右。多数人23岁之前就本科毕业了,不知为何他毕业得这么晚?
朱守益对海螺新材的忠诚度很高,本科一毕业后就加入了公司,一直未跳槽,今年是他为公司服务的第22年。
加入海螺新材后,他担任过芜湖型材公司质控处处长助理、一二分厂副厂长、三分厂厂长等职。这点和海螺新材现任的总经理王杨林很相似,他也是从芜湖型材公司质控处处长助理做起的。
值得注意的是,朱守益还担任过多家公司的总经理,包括芜湖海螺新材料有限公司、英德海螺型材有限责任公司等。企查查显示,这些均为海螺新材的关联公司。
新浪财经信息显示,早在2009年,他就已经是公司的总经理助理,2021年11月升至副总,分管生产安全、科技研发、物资供应等工作。另外,他还是芜湖海螺新材料有限公司的董事长等。
今年3月海螺新材第九届董事会第四十六次会议审议通过了《关于董事会换届暨选举非独立董事的议案》,提名朱守益等人为公司第十届董事会非独立董事候选人。
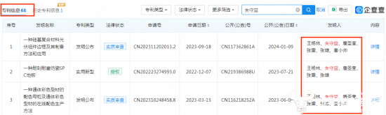
另外,朱守益是多项专利的发明人之一。企查查公开的海螺新材专利信息中,截至今年4月15日,有68项专利是朱守益参与发明。其中有效的37项,实质审查中的7项。
值得一提的是,上述专利信息中很大一部分是朱守益与总经理王杨林等人共同发明的,可见他们两人的知识水平都挺不错。

(责任编辑:陈静)
分享至:


