运营商财经网 实习生龚婉/文
近日,格兰仕副总裁邹能基出席某家电行业高峰论坛,一同出席的还有广东万和新电气股份有限公司董事长卢宇聪、TCL实业高级副总裁、空调事业部总经理陈绍林等诸多家电行业高管,引发关注。
运营商财经网由此注意到了格兰仕高管团队,试图梳理副总裁邹能基的人生过往。

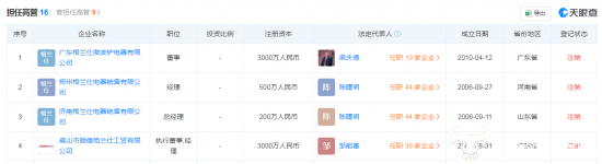
邹能基此人较为神秘,其出生年月、学历情况、薪酬情况、过往任职经历等均不明确。他加入格兰仕的时间未知,不过早在2017年,他曾作为副总裁出席某员工生日会。
天眼查显示,他还曾在多家企业担任高管,如任深圳市格兰仕电器销售有限公司总经理、佛山市顺德区格兰仕电器配件制造有限公司董事长等,这些企业目前均已注销或吊销。

作为格兰仕高管,邹能基在公开场合中露面的频率较高,曾多次参加各种论坛或活动。2020年5月,他走进某电商平台直播间,为近30万在线观看的网友推荐光波炉等格兰仕拳头产品。可见,他在格兰仕企业发展中作出了不小贡献。
2022年12月,广东省工商联发布《2022广东省民营企业100强榜单》上,格兰仕以320亿元的营业收入位列第44位。格兰仕生活电器中国市场营销总监吴毅曾表示,中国市场大约占格兰仕整体营收的20%,可见格兰仕出口做得非常好。
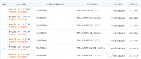
值得一提的是,格兰仕曾在去年5月、6月期间7次受到中山市交通运输局的行政处罚。
决定书文号分别为“粤中交罚【2023】01724号、粤中交罚【2023】01725号、粤中交罚【2023】01831号、粤中交罚【2023】01832号、粤中交罚【2023】01835号、粤中交罚【2023】01830号、粤中交罚【2023】01829号”,处罚事由均为市场违法行为。
这7次行政处罚,累计罚款人民币1.2万元。交通运输局的行政处罚按理与业务无关,与邹能也无关,因为他是负责业务的。

目前,暂未找到格兰仕对于此事的回应,运营商财经网将持续关注公司未来动态。
(责任编辑:龚婉)
运营商财经(官方微信公众号yyscjrd)—— 主流财经网站,一家全面覆盖科技、金融、证券、汽车、房产、食品、医药、日化、酒业及其他各种消费品网站。


