运营商财经网 实习生于航/文
今日,远洋集团披露6月销售简报,简报显示,2024年6月,远洋集团连同其附属公司、合营公司及联营公司协议销售额约为87.7亿元,协议销售楼面面积约为50.7万平方米,协议销售均价约为1.73万元/平方米。运营商财经网试图揭秘远洋集团总会计师姜南的过往经历。
姜南,女,1977年出生,今年47岁。据远洋集团官网高管资料显示,1999年,22岁的姜南毕业于天津财经大学国际贸易专业,取得了经济学学士学位。2023年,姜南从中欧国际工商学院毕业,取得了高层管理人员工商管理硕士学位。
2009年2月,32岁的姜南加入远洋集团。姜南在财务管理、审计、投融资方面经验十分丰富,历任公司财务部总经理助理、会计管理部总经理、财务副总监、副总会计师等职务。
2023年12月8日,原财务总监沈培英辞职,由姜南接棒沈培英为公司总会计师,到今天为止姜南上任仅半年。
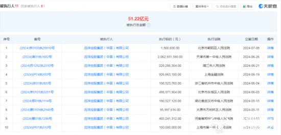
值得注意的是,2024年开始,远洋集团多次被执行,执行案件遍布北京、上海、深圳、成都、甘肃各地,执行金额巨大,半年就已被执行标的51.22亿元。


还好,远洋集团的大股东是中国人寿保险(集团)公司,2021年,中国人寿与远洋集团签署了战略合作协议,提供了金融支持,包括但不限于财务风险管理、投资融资相关工作的协助。比如,近日远洋集团发布公告称,拟将北京颐堤港二期项目64.79%的股权及相关债权出售予大股东中国人寿以及合作方太古地产,总代价40亿元。
另外,中国人寿通过其提名的董事参与远洋集团的管理。例如远洋集团来自中国人寿的董事席位已增至3位。
根据远洋集团2023年年报显示,2023年公司营业收入为464.59亿元,同比增长0.72%;本公司拥有人应占亏损210.97亿元,亏损增加11%。后续情况运营商财经网将持续关注。
(责任编辑:康玲华)
运营商财经(官方微信公众号yyscjrd)—— 主流财经网站,一家全面覆盖科技、金融、证券、汽车、房产、食品、医药、日化、酒业及其他各种消费品网站。


