运营商财经网 实习生于航/文
2024年6月,融创公布6月简报,公司实现合同销售金额约人民币15.6亿元,合同销售面积约11.3万平方米;2024年上半年,本集团累计实现合同销售金额约人民币262.8亿元,累计合同销售面积约139.3万平方米。
此次运营商财经网试图梳理融创首席财务官高曦的过往经历。

根据2023年融创中国财报显示,高曦,1981年出生,今年43岁。2008年7月,高曦毕业于山西财经大学并取得数量经济学硕士学位。关于他的第一学历及院校并未公开。
2007月12月,26岁的高曦加入融创,之后在公司资本运作中心、财务管理部和融资管理部担任多个职务。
2011年,高曦被委任为集团资本管理部经理、总监及总经理。四年后,高曦担任公司秘书。
2019年9月23日,融创发布公告,宣布曹鸿玲为更投入公司总裁职务辞任首席财务官一职,由高曦接任。此时高曦38岁,就任集团首席财务官一职可以说是年轻有为。
高曦主要负责集团的投资者关系、融资、战略投资、上市合规及企业管治相关事宜。高曦的年龄虽然不算大,但从事财务方面工作已有17年,经验丰富。
根据东方财富网数据,目前公司已公开高管中,1981年出生的高曦是年龄最小的,同龄的还有和他同年进入公司的总裁黄书平。

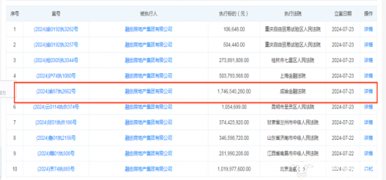
值得一提的是,根据资料显示,融创中国7月多次被执行,执行标的金额巨大。其中7月22日,被执行9次,其中一次被北京金融法院执行标的10.199776亿元,案号为(2024)京74执885号;7月23日,被执行6次,其中一次被成渝金融法院执行17.4654528亿元,案号为(2024)渝87执2662号。


(责任编辑:康玲华)
运营商财经(官方微信公众号yyscjrd)—— 主流财经网站,一家全面覆盖科技、金融、证券、汽车、房产、食品、医药、日化、酒业及其他各种消费品网站。


