运营商财经网 实习生于航/文
2024年4月30日,金科地产公布第一季度财报。报告期间,公司营业收入为75.03亿元,同比下降24.59%;归属于上市公司股东的净利润为-11.61亿元,同比下降293.12%。运营商财经网此次试图揭秘金科地产副总裁宋柯的过往经历。

宋柯,1975年出生,今年49岁。据资料显示,宋柯是硕士学历,第一学历及具体院校暂未公开。
进入金科地产之前,宋柯有着丰富的银行任职经验。2004年5月至2008年6月,宋柯历任交通银行朝天门支行行长助理、民族路支行副行长、南城支行副行长。
2008年7月,宋柯跳槽至中信银行,历任中信重庆分行新支行筹备二组组长、北城天街支行行长,重庆分行党委委员、风险总监、行长助理、副行长。
宋柯在中信任职了12年,业绩优秀,积累了丰富的财务方面经验。
2021年2月,46岁的宋柯进入金科地产,担任公司副总裁。同年8月,宋柯开始兼任公司财务负责人。
宋柯凭借着20年的财务经验,不仅参与公司战略决策,还为公司财务管理方面提供了宝贵的经验和资源。刚进入公司就兼任两职,可见公司对宋柯的信任。
值得一提的是,根据东方财富网显示,宋柯2023年的薪酬为231.2万元,比去年提高了77.6万元,并且比其他两位副总经理都高。
其中张强2023年的薪酬为152.6万元,黄中强为174.9万元,这两位都没有超过200万元。不仅如此,宋柯还是副总经理中任职时间最短的,可见他十分受公司重视。

宋柯持有公司股份63.64万,根据8月5日收盘价格1.13元来计算,这部分的持股价值为71.91万元。
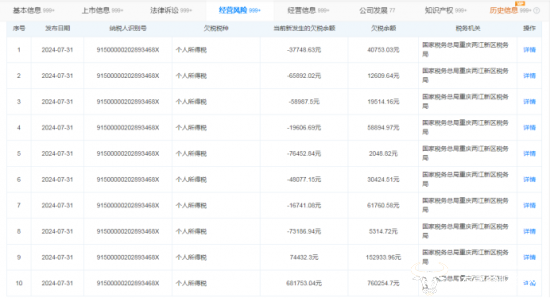
7月31日,金科地产新增多条欠税公告,欠税金额巨大。

(责任编辑:康玲华)
运营商财经(官方微信公众号yyscjrd)—— 主流财经网站,一家全面覆盖科技、金融、证券、汽车、房产、食品、医药、日化、酒业及其他各种消费品网站。


