运营商财经网 实习生杨雪利/文
前年上市的海象新材料公司,去年前三季度的营收和净利润呈现两极化发展,不知道作为董事长兼总经理的王周林对此有何想法。运营商财经网试图揭秘海象新材料董事长兼总经理——王周林。

今年已经64岁的王周林人生经历可是真精彩。王周林1975年毕业于海宁的一所高中,高中毕业的王周林就开始参加工作了。但企查查资料显示,王周林大专毕业,可能王周林这一大专学历是他在职期间取得的。
高中毕业后,王周林先后在双山公社农田测绘队、橡胶厂工作。王周林与橡胶厂的缘分从1977年持续到今天。他在海宁橡胶厂的职位是一路上升,2013年他就成为了海宁橡胶公司的董事长直到今天。
值得注意的是,据中国经济网的一篇报道可知,2004年嘉兴市秀洲区法院判决王周林因虚开增值税专用发票罪,有期徒刑5年,刑期自2003年6月21日起至2008年6月20日止。
在他服刑结束后的第5年,他先后在海宁海橡集团、晶美集团任执行董事及其他高管职位。2018年,他被选为海象新材料的新任董事长兼总经理直到现在。
2020年,证监会在反馈意见中关注到海象新材控股股东王周林曾因虚开增值税专用发票罪被判刑事项。
海象新材新版招股书称,王周林刑期已于2008年6月20日执行完毕,距2013年12月已逾五年。王周林担任公司董事长/执行董事、总经理不适用《公司法》146条不得担任公司董事、监事、高管的情形。王周林的犯罪行为不影响其作为董事、高级管理人员的任职资格。除上述犯罪行为外,王周林不存在其他重大违法犯罪行为。
据海象新材公布的业绩报显示,王周林在位的这几年,海象新材料营收一直呈增长趋势,2020年营收分别为12.24亿、同比增长42.52%;2021年前半年营收为8.26亿,同比增长43.98%,营收还不错。
2020年的净利润为1.88亿,同比增长36.12%;2021年前三季度的净利润为5261万,同比下降43.91%。
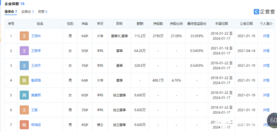
作为海象新材料实控人的王周林和王淑芳父女,目前王周林累计持有海象新材料27.08%的股份,但其最终受益股份为33.05%,而王淑芳则只有0.5459%的最终受益股份。父女两的薪资差距也挺大,分别为115.2万和328.9万。

前不久,王周林又质押了海象新材料160多万股,此外,他在2021年还质押的40万股。
(责任编辑:康玲华)
运营商财经(官方微信公众号yyscjrd)—— 主流财经网站,一家全面覆盖科技、金融、证券、汽车、房产、食品、医药、日化、酒业及其他各种消费品网站。


