运营商财经网 实习生易鑫/文
近日,东鹏饮料副总裁蒋薇薇频频高调出席活动,对公司的未来规划进行分享,吸引了不少人的关注,在这些活动当中,她多次提及公司内部箴言:“没有理由不增长”,她的底气从何而来?

据公开资料显示,蒋薇薇1980年出生,今年43岁,她本科毕业于安徽大学新闻专业,这个学历还是不错的。
在大学毕业之后,也就是2002年,蒋薇薇从事着自己专业对口的工作,她在金鹃传媒科技股份有限公司做创意文案职员。
听起来这个公司好像平平无奇,但事实上,这个公司原名是“金鹃国际广告有限公司”,当时是安徽电视台的下属企业,在2010年被划转至省属国有大型文化企业安徽广电传媒产业集团,目前是安徽省规模最大、实力最雄厚的专业广告公司。
但蒋薇薇也只在这个公司工作过1年。在2003年的时候,她跳槽去了广东平成广告有限公司,在公司做了两年的创意文案职员。
2005年到2007年,她在盛世长城国际广告有限公司做文案指导;2007年至2010年,她在上海平成竞介广告有限公司担任公司的总经理职位。
两年后,在2012年,她进入昌荣传媒股份有限公司广州公司,在公司担任副总经理,但也只干了三年。
2017年的时候,她正式进入东鹏饮料,并且担任东鹏饮料及其前身品牌中心负责人。
而在进入公司两年后,也就是在2019年4月,她担任公司的副总裁,这个晋升速度可以说是很快了。
据天眼查显示,蒋薇薇2021年的薪酬为299万,比公司的大部分高管薪酬都要多。

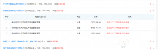
值得注意的是,公司的旗下全资子公司曾多次因生产的食品曾被抽检出不合格,或是公司抽查被发现问题。


东鹏饮料作为在2020年和2021年连续两年销售量在业内排名第一的企业,其背后离不开它成功的品牌营销。而蒋薇薇作为分管公司品牌发展中心,主要负责产品开发、品牌战略和传播等业务的专业人才,在这方面可谓是很有一套。
但东鹏饮料作为食品饮料的企业,食品安全也应该同样受到足够的重视。
未来东鹏饮料将如何发展?运营商财经将持续关注。
(责任编辑:康玲华)
运营商财经(官方微信公众号yyscjrd)—— 主流财经网站,一家全面覆盖科技、金融、证券、汽车、房产、食品、医药、日化、酒业及其他各种消费品网站。


