运营商财经网 实习生易鑫/文
近期,天润乳业发布公告称,公司及控股子公司累计收到政 府补助共计 6908.21 万元,其中与收益相关的政 府补助 1588.21 万元,占公司去年净利润的8.08%,此番补助对公司来说算是不少的。
由此,运营商财经网注意到了公司背后的高管团队,并试图揭秘公司董秘冯育菠的过往。

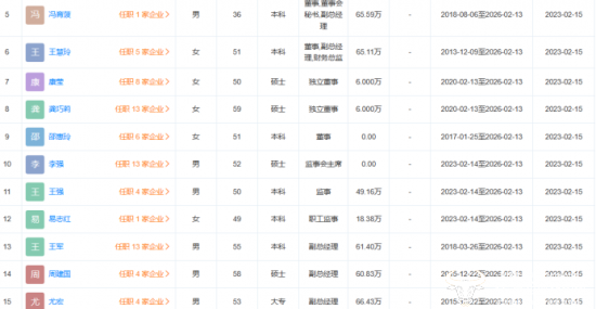
据公开资料显示,冯育菠1987年出生,今年36岁,而在他当上公司董秘的那年,他才31岁,这个年纪就当上了一家上市公司的董事会秘书,还是很不错的。并且他拥有本科学历,但官方并未披露其具体毕业院校和毕业时间等相关信息。
有关其早期工作经历的相关信息,官方没有公开太多,但能够知道的是,在进入天润乳业之后,冯育菠曾任公司的第六届、第七届董事会董事、董事会秘书,第六届监事会职工代表监事、公司证券投资部副部长、证券事务代表的职务。
而除了这些职务外,在今年2月份,他被任命为公司的副总经理,现如今,他是公司的董事、副总经理和董事会秘书。
据天眼查显示,冯育菠去年的薪酬为65.59万还不错,但不如公司另一位有大专学历的副总尤宏。而副总经理周建国年薪60.83万,副总经理王军年薪61.40万,又都不如冯育菠。

值得注意的是,公司发布了2022 年年度的权益分派实施公告,公告表示公司将向全体股东每 10股派发现金红利 1.87 元,共计现金约5897.80万元,这个分红力度在乳业中还算可以。但由于官方并未公开冯育菠所持公司的股份股数,因此运营商财经也不知此番他将获得多少利益。
据公司一季度报显示,在今年一季度,疆外市场为公司贡献了较大增量。具体看来,天润乳业在疆内、疆外市场的销售额分别为3.74亿元、2.56亿元,同比分别增长8.1%、30.2%。
而为了拓展疆外市场,公司在山东建了工厂,项目预计在今年10月底投产试运营。此前,冯育菠在机构调研的问答中表示,为了保障销量,公司在2022年末成立了天润销售山东分公司,并且任命有丰富经验的销售总监负责。预计在2023年10月投产试运营,招商、行销规划等前期的各项准备工作已经在进行中。
未来冯育菠将在天润乳业如何发展?运营商财经将持续关注。
(责任编辑:康玲华)
运营商财经(官方微信公众号yyscjrd)—— 主流财经网站,一家全面覆盖科技、金融、证券、汽车、房产、食品、医药、日化、酒业及其他各种消费品网站。


